Питатели импульсные смазочные относятся к группе дозирующих устройств, устанавливаются в смазочных импульсных системах и предназначены для дозированной подачи жидкого смазочного материала к узлам трения различных механизмов и машин. Импульсные питатели эксплуатируются на чистых минеральных маслах с кинематической вязкостью от 10 до 600 мм2/с при t масла от +50С до +500С и t окружающей среды от +10С до +400С.
Предназначены для централизованной подачи смазочного материала в одно или несколько мест, простота использования позволяет организовать подачу смазочного материала в необходимом количестве в любые труднодоступные места без каких либо дополнительных затрат, необходимость применения смазки обусловлена ресурсом работы оборудования.
Область применения:
Промышленное оборудование, используется в системах смазки станков, механизмах спецсредств в горнодобывающей промышленности, узлы где необходима периодическая дозированная подача смазочного материала, является аналогом импортному оборудованию устанавливаемому в настоящее время на станках с числовым программным управлением.
Технические характеристики
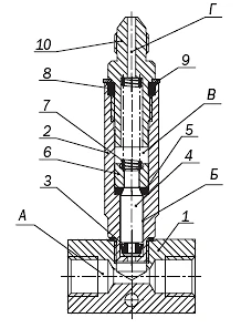
Импульсный питатель (первого и второго типов) состоит из: литой алюминиевой планки 1, корпуса 2, клапана 4 с манжетой 3, кольца 5, гильзы 6, пружины 7, штуцера 10, уплотнительного 8 и регулирующего 9 колец. Клапан, гильза и кольцо образуют подвижную систему подачи смазки.
При подаче смазочного материала и повышении давления во входном отверстии А усики манжеты отгибаются и масло заполняет полость Б. При этом клапан 4 прижат к кольцу 5, препятствуя перетеканию смазочного материала из полости Б в полость В. Подвижная система приподнимается вверх, сжимая пружину 7. Смазочный материал, находящийся в полости В, поступает через выходное отверстие Г. Как только входное отверстие А соединяется с отверстием слива, подвижная система под действием упругой силы пружин стремиться опуститься вниз и в полости Б создается давление, манжета запирает проход из полости Б в полость А, и клапан открывается. Подвижная система отходит вниз и из полости Б дозированное количество смазочного материала перетекает в полость В, происходит перезарядка дозатора питателя смазки для следующего цикла.
Габаритные размеры

Чтобы приобрести понравившийся товар, необходимо его заказать.
Выбрать понравившийся товар и нажать кнопку «В корзину». При оформлении заказа заполнить форму. Вписать обязательную информацию в поля: ФИО, телефон и e-mail. Для выставления счета на оплату прикрепить реквизиты Вашей организации.
Мы работаем c юридическими лицами. Оплата возможна только по безналичному рассчёту.
Стоимость доставки: по тарифу ТК
Доставка до терминала транспортной компании в нашем городе - бесплатно. Доставка до города покупателя оплачивается по тарифу транспортной компании.